
產品與解決方案/PRODUCT AND SOLUTIONS
少用電 用好電 再生電 存儲電 防爆電
解決方案
新建礦井絞車高壓提升機變頻改造紀實
1引言
長期以來,因建井絞車電動機功率大,建井工況比正常生產礦井相對復雜很多,提升機變頻器生產廠家在技術不成熟的情況下不敢涉足建井行業。現場只能使用繞線式異步電機轉子串電阻的方法進行調速控制。該方法雖然投資成本較低,但轉矩脈動大,電機電流波動大,同時串電阻能耗高,故障率高,影響了安全生產水平。隨著變頻控制技術的進步,在建井行業使用變頻絞車成為可能,由于國外品牌價格昂貴,大大增加了使用單位的經濟負擔。
2 用戶現場情況
該煤礦用戶礦井設計年生產能力1500萬噸,礦井設計采用立井開拓方式,布置兩個大采高綜采工作面。為了加快工作進度和節約建設成本,該用戶通過論證和多方考察,決定兩套副提1250kW/6kV電機改為變頻控制,變頻器采用新風光電子科技股份有限公司生產的JD-BP37-1400T(1400kW/6kV)2套高壓提升機變頻器對該副井絞車進行拖動。提升機現場如參數如表1、拖動電機參數表2所示。


3 新風光高壓提升機變頻調速系統介紹
新風光公司是國內較早的從事提升機變頻器研究的專業廠家,新風光高壓提升機變頻器被列入國家火炬計劃,產品榮獲國家重點新產品、山東省科技進步獎,產品被列入國家重點節能技術推廣目錄第一批名單。
新風光JD-BP37-T系列高性能高壓變頻調速產品,以高速DSP(TMS320F2812)為控制核心,采用矢量控制技術,融合了能量回饋技術,以及IGBT大電流驅動技術,是新一代高性能完美無諧波高壓變頻調速產品的典型代表。矢量控制功能使得異步電機啟動轉矩大,動態轉矩響應好,調速精度高。能量回饋技術的應用,使得功率單元串聯型高壓變頻器具備了四象限運行能力,能量可以在電網和電機之間雙向流動。矢量控制技術原理如圖1所示。

圖1 矢量控制技術原理框圖
此次變頻改造選用JD-BP37-1400T(1400kW/6kV)高壓提升機變頻器,高壓提升機變頻器技術參數如表3所示。
表3 風光高壓提升機變頻器技術指標 | |||
型 號 | JD-BP37-1400T | 額定功率 | 1400kW |
輸入/輸出電壓 | 6kV/0~6kV | 額定電流 | 168A |
變頻范圍 | 0~50Hz | 過載能力 | 110% 連續, 150%允許1min,220%允許1.5s |
生產廠家 | 新風光電子科技股份有限公司 | ||
表3 風光高壓提升機變頻器技術指標
風光6kV高壓提升機變頻器,采用若干個低壓逆變器功率單元串聯的方式實現直接高壓輸出,移相變壓器有18組付邊繞組,每相分為6個功率單元,三相共18個單元,采用36脈沖整流,輸入端的諧波成分低于國標規定。高壓提升變頻器功率單元電路如圖2所示。系統控制器核心由高速32位芯片運算來實現,精心設計的算法可以保證電機達到較優的運行性能。人機界面提供友好的全中文監控和操作界面,同時可以實現遠程監控和網絡化控制。PLC控制器用于柜體內開關信號的邏輯處理,以及與現場各種操作信號和狀態信號的協調,增強了系統的靈活性。控制器及各控制單元板中采用先進的單片機等大規模集成電路和表面焊接技術,系統具有極高的可靠性。

圖2功率單元電路結構
另外,控制器與功率單元之間采用多通道光纖通訊技術,低壓部分和高壓部分完全可靠隔離,系統具有極高的安全性,同時具有很好的抗電磁干擾性能,并且各個功率單元的控制電源采用一個獨立于高壓系統的統一控制器,方便調試、維修、現場培訓,增強了系統的可靠性。
高壓提升變頻器是整個絞車系統的一個核心部分,它具有與電控操作系統相適配的各種接口。它接受操作臺電控系統的操作命令,同時它又將運行狀態,包括工作頻率、電機電流、電源電壓、電流及故障信息隨時送給電控系統。變頻器本身又將工作信號及工作狀態自動記錄以備查閱,依據用戶要求連接打印設備,每班數據打印,形成設備報表。變頻器的所有輸入、輸出接口均進行了隔離,避免對變頻器引入干擾。當電機處于負力提升時,變頻器實時檢測進行能量回饋電網。
4風光高壓提升機變頻器的突出特點
風光高壓提升機變頻器除具有普通高壓變頻器的功能外,還針對絞車控制,具有以下突出特點:
(1)電源輸入勵磁涌流限制技術:該技術使得系統在每次上高壓電時的沖擊電流小,對電網的沖擊也很小。
(2)系統斷電自動保護技術:確保任何情況下系統都能安全運行。如果沒有,提升機重載下放過程中,遇到系統停電時,會造成單元損壞甚至整個系統癱瘓。
(3)變頻裝置為直接高-高結構,直接6kV輸入,直接6kV輸出,可以直接安裝使用,不需要對系統進行任何改造。
(4)功率單元自動旁路技術:在提升機運行過程中,意外出現一個或幾個功率單元故障時,系統可以自動將故障單元旁路,系統進入星點偏移控制,保持輸出的線電壓平衡,同時保持較大輸出轉矩、電壓,完成本次提升任務。
(5)獨立的控制電源技術:獨立的控制電源技術,系統在不上高壓電的情況下可以檢測系統各個關鍵點的波形和調試、培訓等,方便用戶自行檢修和維護。
(6)空載低損耗控制技術:變頻系統在待機狀態下,空載損耗小,經實測比通用技術產品要低2~3倍。
(7)采用矢量控制技術,電機可四象限運行,具有不施閘懸停和力矩預置技術。
(8)承諾可以現場進行試驗:1~2個單元故障可以旁路,完成一個提升循環。提升機滿載、全速提升和下放時,電源停電試驗,變頻器確保不損壞。
(9)風光變頻器單元內電解電容因采取了本公司的專利技術(專利號ZL 2003 2 017356.2),可將其使用壽命提高一倍。
(10)提升機變頻器具有回饋制動、直流制動、安全制動等多項制動方式,保證了絞車可靠運行。
(11)具有完備的與電控系統對接的各個接口,實現與絞車電控系統無縫連接。
5 高壓提升機變頻拖動方案
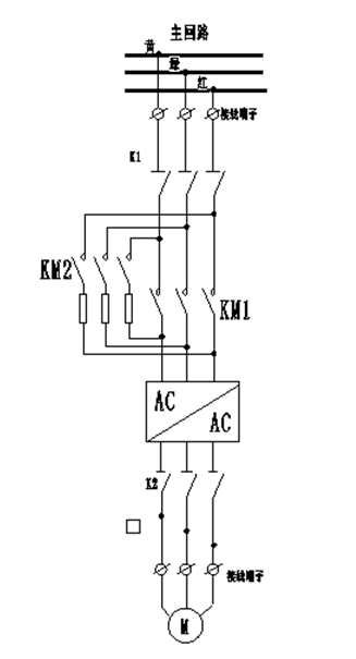
5.1主回路接線
該礦井2臺絞車的控制方式相同,以其中1#絞車變頻改造為例介紹如下。主回路接線如圖3所示。

圖3 主回路接線
5.2變頻控制與操作臺接口
變頻器與電控系統連接框圖如圖4所示。
(1)速度控制信號輸入
電控系統給一路4~20mA模擬量速度信號。
(2)模擬量輸出
系統提供兩路模擬輸出,模擬量輸出設定為4~20mA輸出電流和4~20mA輸出頻率。
(3)與操作臺遠程控制
上提、下放、安全回路輸入、安全回路輸出、變頻就緒、故障輸出。

圖4 變頻器與電控系統連接框圖
6變頻運行情況
2016年8月,現場開始安裝、調試變頻器。調試人員根據現場工況情況:電動機沒有裝旋轉編碼器,把變頻器工作方式設置為無旋轉編碼器矢量控制工作方式,首先帶空電動機進行參數辨識,然后帶滾筒運行情況對參數進行微調。為了驗證變頻器的輸出力矩,在現場把罐籠裝滿最重的沙石料(超過額定負載量)然后把罐籠放在水中,靠水的吸力增大重量。根據以往工作經驗,這種情況如果采用串電阻絞車通常會出現拉不動跳高壓情況,就是在負載稍輕的時候能夠拉動,但是,在罐籠拉出水面瞬間會出現大幅度的顫動現象;現場準備就緒后開始啟動,變頻器運行在2.0Hz,輸入電流在23A,輸出電流達到210A(電動機額定電流144A)的情況下罐籠緩慢的從水中被提上來,沒有出現罐籠晃動現象;為了驗證下放回饋能力,現場把正常工作使用的傘鉆作為重物進行試驗(傘鉆重量為15噸,是由主提絞車負責提升和下放),下放運行頻率1.5Hz,輸出電流110A,輸入電流14A,變頻器回饋工作正常。通過試驗,變頻器啟動、停止以及調速過程中電動機聲音正常,滾筒轉動平穩。主井副提絞車通過改造后,實現了絞車的軟啟動、軟停止,由于變頻器運行穩定使現場生產效率得到了提高。特別是變頻器采用回饋制動工作方式,在提升量基本相同的情況下,通過與主提絞車相比較變頻運行時節電量達20%以上。
7結束語
風光牌高壓提升機變頻器既可應用于新礦井提升機電控系統配套,也適用于老礦井絞車的改造,同時也適用礦井建設中。它不僅提高了礦山提升機控制技術和裝備水平,實現了絞車高轉矩、高精度、寬調速范圍驅動,確保了提升機可靠運行,而且節能效果明顯,是交流提升機電控系統發展的方向,應用前景廣闊。